We will present the performance, safe operation methods, and technical parameters of កម្មវិធី ផ្លាស់ប្ដូរ ការ ម៉ោន ZGS- 12

1. General provisions
This manual is used to assist engineers and technicians in the installation, use and operation of combined transformers (hereinafter referred to as combinators).
The combined transformer produced by our factory is a fully insulated, fully sealed, waterproof three-phase distribution transformer for benchtop installation, which is suitable for the three-phase distribution system with a rated voltage of 10KV. Meet the requirements of the corresponding national standards
This manual is not a subscenium for the general operating procedures of electrical equipment, nor can it meet all the requirements of installation, use and operation. These tasks should be carried out with personnel familiar with the safety and operating procedures of the power system
2. Use conditions and environment
a. Altitude: no more than 1000M.
b. Ambient temperature: -25C to 40C
c. Relative humidity: not more than 95% (daily average).
d. Ground inclination: no exercise 3.
e. Wind speed: no more than 35m/s.
Indoor and outdoor places without violent shock and vibration, no serious pollution and chemical corrosion media, and no explosion hazard.
3. Main technical parameters
serial number | ឈ្មោះ: | unit | HHigh pressure side | transformer | Low pressure side |
1 | កម្រិត ពិត | KV | 10 | 0.4 | |
2 | Maximum operating voltage | KV | 12 | ||
3 | Rated capacity | KVA | 50-2500 | ||
4 | តម្លៃ បច្ចុប្បន្ន | A | 10-630 | 100-2500 | |
5 | Withstand current for a short time | KA | 12.5/20 | 12.6-40 | |
6 | Short tolerance time | S | 2 | 1 | |
7 | Peak withstand current | KA | 50 | 30-60 | |
8 | Power frequency withstand pressure | KV | 35 | 35 | 5 |
9 | Lightning impact withstand pressure | KV | 75 | 75 | |
10 | HHigh-voltage current-limiting fuses quickly cut off the current | KA | 50 | ||
11 | កម្រិត ការពារ | Ip33 | Ip65 | Ip33 | |
12 | Noise level | db | W55 | ||
13 | ប្រេកង់ ដែល បាន វាយតម្ម | HHz | 50/60 |
4. Unpacking acceptance inspection
Check the product for damage, deformation and breakage. Check whether the accessories and special tools are complete according to the packing list, and install according to the installation requirements after confirming that they are correct.
5. Installation
A. The assembly is installed on a concrete base with a height of 100-400mm from the ground that is sufficient to bear the weight of the assembly. The recommended size diagram of the assembly size and base is shown in Appendix 1.
B. The cable is placed before the group is in place and must be without electricity.
ស. មាន ចំណុច សម្រាប់ ផ្ទុក និង ដោះ ផ្ទុក នៅ ខាង លើ ប្រអប់ ។ និង មុំ រវាង ខ្សែ កណ្ដាល កណ្ដាល និង បន្ទាត់ បញ្ឈរ មិន អាច លើក ៣០ នៅពេល បាន កម្រិត ។ ប្រសិន បើ ចាំបាច់ របារ កណ្ដាល គួរ ត្រូវ បាន ប្រើ ដើម្បី គាំទ្រ ខៀវ រចនាប័ទ្ម ដើម្បី ជម្រះ ការ បង្កើត រចនាសម្ព័ន្ធ ឬ គំរូ រចនាប័ទ្ម ។ កម្លាំង ភាគ ច្រើន នៃ ប្ដូរ មធ្យោបាយ ត្រូវ បាន ដោះស្រាយ នៅ ក្នុង ប្រអប់ មេ ដែល មាន សំនួរ ខាងក្រៅ កម្លាំង និង សិទ្ធិ ។ និង ប្រអប់ ស្ថានីយ ខ្ពស់ ខ្ពស់ និង ទាប ច្រើន គឺ ទទេ ហើយ កម្រិត ពន្លឺ ទាក់ទង ។ (ប្រើប្រាស់ កូស ឬ កូដ មិន ត្រឹមត្រូវ អាច បង្កើន បំបាត់ កំហុស ទៅ ការ ចូលរួម ឬ ចូលដំណើរការ ផ្សេង ទៀត ឬ បង្កើន ការ បាត់បង់ ឯកសារ ។ )
Notice: If the group transformer cannot be lifted by crane, it can be slid with a skateboard or roller. When supporting the box and inserting the roller below, at least two jacks are required, and the adjacent two angles should be lifted smoothly at the same time to avoid deformation of the bottom of the box. The jack can only be placed on the corners of the bottom of the box, and a backing plate should be added, and the jack should not be placed under the heat sink, valve or thin steel plate. If rollers are used, the number should be appropriate and the weight of the box should be carried equally. Before pulling the transformer, install pull rings on both sides of the bottom of the box transformer. Do not attach the cable to the regrouped casting or other sheet metal parts.
D. Installation site
There are two types of insulating oil in the composition, one is high-ignition point oil and the other is high-quality mineral oil. The group transformer with high ignition oil (with obvious signs in the low-voltage isolation room of the group transformer) can be used in the building or outdoors; The composition of mineral oil cannot be used in buildings. The freezing point of high-quality mineral oil is -45 ។ នៅ ទីនេះ នៅ ទីនេះ ចំណុច កណ្ដាល ទឹកកក នៃ ស៊ូទ្រាយ ខ្ពស់ គឺ -30 ។ ១. បន្សំ នៃ អ៊ីមែល កណ្ដាល ខ្ពស់ មិនអាច ត្រូវ បាន ប្រើ នៅ ក្នុង ផ្ទៃ ដែល មាន សីតុណ្ហភាព ខ្ពស់ ជាង -30 ° C ។ ថាតើ វា ជា បន្សំ នៃ សូល មេ ប្រសិន បើ វា ត្រូវ បាន ដាក់ ក្នុង ប្រតិបត្តិការ នៅពេល ដែល សីតុណ្ហភាព តូច ជាង -20°C វា ត្រូវ តែ រត់ សម្រាប់ ២៤ ម៉ោង ដោយ គ្មាន ផ្ទុក សម្រាប់ ការ សម្រេច ហើយ បន្ទាប់ មក ផ្ទុក ដោយ លឿន ។ ប្រសិន បើ មាន សង្ខេប សូម ទាក់ទង ទំព័រ របស់ យើង ។
6. HHandover test
After the installation is completed, connect the test cable plug (the test cable plug can be purchased as an option), and conduct the handover test according to the relevant test procedures of the national standard.
7. Installation precautions
A. When accessing the system
Before wiring any system, ground the box first. The grounding terminal of the box must be connected to a fixed, low-impedance grounding point.
Before wiring, clean all sleeves, bushings, terminal terminals and contacts, and clean all dust, oil and foreign objects. Connecting the neutral point of the group change and the neutral point of the system.
Install accessories as required to ensure the insulating oil is at the appropriate height.
When no one is on duty, close and lock the box door.
8. When operating
☆ Under normal circumstances, the operation of inserting the fuse should be carried out after the power is cut off, and the relevant operation instructions should be read carefully before operation.
☆ The internal load switch can only be used to interrupt the rated current, but not to disconnect the fault current.
☆ Insulated operating lever must be used to operate the load switch.
C. When maintenance is required
☆ The group transformer cannot be overhauled while the system is running. Before maintenance, it should be insulated, power off and completely isolated from the group transformer.
☆ Operate the plug-in fuse, open the oil injection valve and release the internal pressure of the transformer (pull out the pressure relief valve) before opening the oil tank, and do not perform the above operations before the internal pressure is zero.
Warning: The released gas may be flammable, so be careful when releasing it.
Do not open the lid of the box of the group transformer unless it is absolutely necessary. Before opening, clean the area around the lid and close it in the shortest possible time to prevent moisture and dust from entering the box. Do not turn on the group change in wet or rainy weather.
8. Operation
A. Inspection before commissioning
☆ Check whether the cable joints are connected as required, and whether the casing joints and elbow plugs are connected in place;
☆ All cable joints and the grounding wire of the box must be connected to a stable, low-impedance grounding point;
☆ After confirming that there is no problem, it can be put into operation;
☆ Before the group transformer is put into operation, the oil level height in the box must be checked, and the oil level height should be read directly from the oil level gauge, and the oil level should be at the indicated position of the oil level gauge at 25°C at 25°C.
Note:មុន នឹង ដាក់ ការ ផ្លាស់ប្ដូរ ក្រុម ទៅ ប្រតិបត្តិការ អ្នក គួរ តែ មាន ការ យល់ ជម្រៅ នៃ ការ ផ្លាស់ប្ដូរ ក្រុម ។ សូម ប្រាកដ ថា អ្នក ស្វែងរក កម្មវិធី និង មុខងារ នៃ ឧបករណ៍ និង ចូលដំណើរការ ទាំងអស់ ។ សូម ដោះស្រាយ ការពារ និង ឧបករណ៍ ការពារ ចាំបាច់ កំឡុង ពេល ប្រតិបត្តិការ និង ប្រើ រ៉ូន្យភាព ប្រតិបត្តិការ ដែល បាន សរសេរ នៅពេល កំពុង សាកល្បង បំបែក ឬ បិទ ឧបករណ៍ ។ នៅ ពេល ស្ថានភាព ឡើង វិញ មិន អាច កំណត់ វា ត្រូវ បាន ត្រួត ពិនិត្យ ឡើង វិញ ។
B. Preparation for commissioning
a. Refill oil
When needed, oil should be replenished in a timely manner
☆ Use pumps and hoses that are not contaminated; Do not use rubber hoses. Because the oil will dissolve the sulfur contained in it, metal or non-rubber hoses should be used.
☆ Connect the oil outlet pipe of the oil pump to the oil injection port of the oil tank.
☆ Pump the oil back from the bottom of the sealed temporary container, taking care not to let the oil inlet pipe draw in air.
☆ To prevent high-speed oil flow inflation, pump slowly until the oil level is required.
b. Grounding
The dedicated ground on the transformer enclosure must be connected to a permanent grounding point.
c. HHigh-voltage wiring
☆ The assembly is equipped with a universal high-voltage casing socket. Single-pass or double-pass sleeves that are matched with the casing socket need to be plugged in the field. The installation method of single-pass and double-pass sleeve is shown in Appendix 3.
☆ Install the toggle cable plug on the high-voltage wiring cable according to the installation method described in Appendix 4, and then insert the toggle plug into the single or double pass sleeve.
d. Low voltage wiring
There are three-phase and neutral wire terminals on the assembly transformer for connecting low-voltage cables.
Notice:ក្រុម អាច ប្រតិបត្តិការ តែ នៅ ការ វាយតម្លៃ ដែល បាន បញ្ជាក់ លើ ឈ្មោះ:plate និង ប្រតិបត្តិការ ផ្ទុក កម្រិត ខ្ពស់ នឹង ប៉ះពាល់ ភាព អាសយដ្ឋាន ។ ប្រសិន បើ ក្រុម ត្រូវ បាន រក្សាទុក នៅ ខាងក្រៅ វែង គំរូ របស់ ខេល ត្រូវ បាន យក គំរូ ដើម្បី ពិនិត្យ មើល មាតិកា សំខាន់ និង កម្លាំង ដៃ ។ ពេល ក្រុម ចេញ ពី កម្លាំង ជា ទូទៅ មាន វ៉ូស ខាង លើ ផ្ទៃ ខូច នៅ ក្នុង ប្រអប់ (ក្រាហ្វិក ព្យាយាម បង្ហាញ គ្រាប់ ចុច វិនិច្ឆ័យ) ដែល អាច បង្ខំ សម្ព័ន្ធ ផ្លាស់ប្ដូរ ជា មួយ នឹង ការ ផ្លាស់ប្ដូរ ប្រតិបត្តិការ ឬ បរិស្ថាន ក្រោម លក្ខខណ្ឌ ធម្មតា ។ ប្រសិនបើ លក្ខខណ្ឌ គ្រាប់ចុច បង្ហាញ ស៊ូតុង សូល វា ចង្អុល ថា មាន ការ កម្លាំង និង ទាមទារ ការ ត្រួត ពិនិត្យ បន្ថែម ។
C. Operational requirements
☆ Before operation, the operating status of the line and the position of the tap-changer should be understood, and the load switch should be in a position disconnected from the transformer;
☆ Understand the purpose and function of all cable glands before operation;
☆ The operator should stand in the best position and use the insulated operating lever to operate the load before the operation.
☆ According to the relevant high-pressure operating regulations, necessary protective equipment must be used to ensure safety.
D. Power transmission
Close the previous level switch, and then turn the load switch to the position of connecting the transformer according to the requirements of 8. 3, and the group transformer will be put into operation.
9. Attachments
A. Tap changer
☆ The group variable tap-changer is a load-free tap-changer, and the tap-changer operation can only be carried out when it is confirmed that the power has been cut off.
☆ The tap-changer has three or five gears, marked by A, B, C, D, and E, and the tap-out range is 10KV±5% or 10KV±2*2. 5%。
\ \ \ \ \ \ \ \ \ \ \ \ \ \ \ \ \ \ \ \ \ \ \ \ \ \ \ \ \ \ \ \ \ \ \ \ \ \ ការ ចាក់សោ កណ្ដាល ត្រូវ បាន ដោះស្រាយ ហើយ បន្ទាប់ មក ត្រូវ បាន បង្វិល ទៅ ទីតាំង ដែល ទាមទារ ហើយ ការ ចាក់សោ កណ្ដាល ត្រូវ បាន លាយ បន្ទាប់ ពី ការ លៃតម្រូវ ។ ដើម្បី បន្ថែម ចាក់សោ អ្នក អាច ដាក់ កណ្ដុរ កណ្ដាល ទាប ហើយ ចាក់សោ វា ជាមួយ បណ្ដាញ ។
Note: The group transformer should be powered off before operating the tap-changer, otherwise, it will cause damage to the group and may lead to serious personal injury.
Load switch
☆ The load switch is a three-phase linkage switch with a quick spring operation structure. There are two types: 2 positions and 4 positions. Among them, 2 positions are used for terminal type transformers, and 4 positions are used for ring network type transformers.
☆ The load switch can only be used to interrupt the load current, not the short-circuit current.
☆ Insulated operating rod must be used to operate the load switch.
Insertion fuse
☆ Plug-in fuses provide convenience for replacing fuses from the outside, as shown in Appendix 2 for the method of replacing fuses.
\ \ \ \ \ \ \ \ \ \ \ \ \ \ \ \ \ \ \ \ \ \ \ \ \ \ \ \ \ \ \ \ \ \ \ \ \ \ \ \ \ \ \ \ \ \ \ \ \ ម៉ូឌុល ហ្វ៊ីស ដែល បាន ជ្រើស ទាំងអស់ ត្រូវ បាន សម្គាល់ នៅ ខាង ក្នុង បញ្ឈរ ក្រុម នីមួយៗ និង ប្រភេទ ហ្វ៊ីស ដូចគ្នា ត្រូវ តែ ត្រូវ បាន ជ្រើស នៅពេល ជំនួស កណ្ដាល ។ និង ម៉ូឌុល Fise ដែល បាន ជ្រើស សម្រាប់ កម្មវិធី ប្ដូរ ប្រអប់ នៃ សមត្ថភាព ផ្សេងៗ គឺ ដូច ខាង ក្រោយ:
capacity | Insertion fuse specification |
100 | 4038108C06 |
125 | 4038108C07 |
160 | 4038108C07 |
200 | 4038108C09 |
250 | 4038108C09 |
315 | 4038108C09 |
400 | 4038108C12 |
500 | 4038108C12 |
630 | 4038108C12 |
800 | 4038108C14 |
1000 | 4000353C16 |
1250 | 4000353C16 |
1600 | 4000353C17 |
D. Cable accessories
Cable accessories: elbow plugs, single-pass sleeves (or double-pass sleeves), single-pass connectors (or double-pass connectors), insulation protective caps, see Appendix 3-5 respectively.
E. Surge arresters
If you need to install a lightning arrester on the group, you can choose a fully insulated elbow type zinc oxide arrester. During installation, the group train adopts a double-pass casing, one end of the double-pass casing is connected to an elbow-type plug, and the other end is connected to a lightning arrester. Surge arrester installation method:
☆ Connect the grounding wire to the system ground.
☆ Use copper wire to connect the grounding end of the arrester with the system grounding.
☆ Use the contact surface of the lubricated arrester provided by this factory.
☆ Use the insulated operating lever to hook the operation hole of the arrester, and insert the arrester into the casing joint with force, and be sure to insert the arrester in place. Notice: The arrester must be removed and reinstalled after the test.
F. Fault indicator and voltage display
See Appendix 6
10. Maintenance
A. External maintenance
Regularly inspect all external surfaces of the composition, and repair it immediately if the coating has accidental bruises, scratches and wear.
B. Internal maintenance
Regularly check whether all accessories and instruments in the high and low pressure chambers of the group are working normally, and check whether there is any leakage in each sealing part.
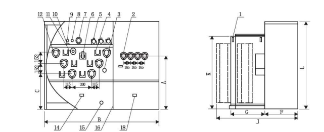
Appendix 1 Combined transformer size and installation
| 1 HHook 11 Oil temperature gauge 2 Low voltage casing 12 HHigh voltage casing socket 3 tap-changer 13 heatsink 4 wall-mounted 14 high-pressure chamber grounding 5 Plug-in fuse 15 Oil drain valve 6 load switches 16 bulkheads 7 Pressure Gauge 17 Fuel Tank 8 Pressure relief valve 18 Grounding of the low pressure chamber 9 Oil injection port 19 HHigh pressure chamber 10 Oil level gauge 20 ឈ្មោះ:plate |
Figure 1-1 Dimensional diagram of standard ring mesh type and terminal crucian carp combining press
Composition Capacity (kVA). | A | B | C | D | E | F | G | HH | J | K | L |
100 | 1030 | 1971 | 680 | 1091 | 880 | 536 | 560 | 1350 | 1176 | 1346 | 1580 |
125 | 1030 | 1971 | 680 | 1091 | 880 | 536 | 560 | 1350 | 1176 | 1346 | 1580 |
160 | 1030 | 1971 | 680 | 1091 | 880 | 536 | 560 | 1350 | 1176 | 1346 | 1580 |
200 | 1030 | 1971 | 680 | 1091 | 880 | 536 | 560 | 1350 | 1176 | 1346 | 1580 |
250 | 1030 | 1971 | 680 | 1091 | 880 | 536 | 560 | 1350 | 1335 | 1346 | 1580 |
315 | 1030 | 1971 | 680 | 1091 | 880 | 536 | 560 | 1350 | 1335 | 1346 | 1580 |
400 | 1030 | 1971 | 680 | 1091 | 880 | 536 | 560 | 1350 | 1335 | 1346 | 1580 |
500 | 1030 | 1971 | 680 | 1091 | 880 | 536 | 560 | 1350 | 1335 | 1346 | 1580 |
630 | 1290 | 2000 | 796 | 963 | 1037 | 660 | 660 | 1440 | 1540 | 1486 | 1710 |
800 | 1290 | 2000 | 796 | 963 | 1037 | 660 | 660 | 1440 | 1675 | 1486 | 1710 |
1000 | 1290 | 2000 | 796 | 963 | 1037 | 660 | 660 | 1440 | 1765 | 1486 | 1710 |
1250 | 1200 | 2205 | 836 | 1158 | 1047 | 660 | 760 | 1440 | 1865 | 1486 | 1710 |
1600 | 1200 | 2205 | 836 | 1213 | 992 | 660 | 800 | 1700 | 1920 | 1526 | 1710 |
Note: (1). The above dimensions are for reference only;
(2). The terminal type and the ring mesh type have the same overall dimensions.
|
|
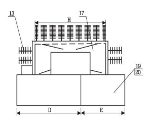
Figure 1-3 Schematic diagram of the installation of standard combined transformer | Figure 1-4 Schematic diagram of the installation of the sub-mother combined transformer |

1 Grounding of the low-pressure chamber 2 Low pressure casing 3 HHooks 4 HHyperbaric chamber 5 Fuel tank 6 HHeat sink 7 Wall mounting 8 Oil Injection Port 9 Pressure relief valve 10 Oil level gauge | 11 Pressure gauge 12 Load switch 13 Plug-in fuse 14 tap-changer 15 Grounding in the hypervoltic chamber 16 HHigh Voltage Casing Socket 17 Spare Nuts 18 Grounding of the low-pressure chamber 19 Nameplates |
កម្មវិធី បម្លែងComment capacity (KVA). | A | B | F | G | K |
100 | 2000 | 1400 | 660 | 1400 | 730 |
125 | 2000 | 1400 | 660 | 1400 | 730 |
160 | 2000 | 1400 | 660 | 1400 | 730 |
200 | 2000 | 1400 | 660 | 1400 | 730 |
250 | 2000 | 1400 | 660 | 1400 | 730 |
315 | 2000 | 1400 | 660 | 1400 | 730 |
400 | 2000 | 1400 | 660 | 1400 | 730 |
500 | 2000 | 1400 | 660 | 1400 | 730 |
630 | 2205 | 1400 | 800 | 1465 | 755 |
800 | 2205 | 1400 | 800 | 1465 | 755 |
1000 | 2205 | 1400 | 800 | 1465 | 755 |
1250 | 2205 | 1400 | 800 | 1465 | 755 |
Note: (1). The above dimensions are for reference only;
(2). The terminal type and the ring mesh type have the same overall dimensions.
Appendix 2 Plug-in fuses
Pull out the fuse tube
1. Pull out the pressure release valve, and after the pressure in the fuel tank is completely released, hook the fuse pipe operation hole with the insulated operating lever.
2. Push down the operating handle so that the movable hook of the operating handle locks the operating hole of the fuse tube, and rotate the lock hook of the fuse tube by 90° to release the locking state between the fuse tube and the fuse seat.
3. Pull the fuse tube upwards about 100mm, stay for a few seconds, and slowly pull out the fuse tube after the oil on the fuse tube flows.
4. HHold the handle and wipe off the oil stains from the fuse tube.
Note: If oil is found to flow out of the fuse mount, the pressure release valve should be pulled out again to balance the pressure inside and outside the tank.
Replace the fuse
1. Loosen the nut of the fused pipe with a wrench and unscrew the other nut with another wrench. (Picture 2-1)
2. Loosen the end bolts and remove the fuse. (Picture 2-2)
(Note: If the fuse is not fused, the flattened funnel-shaped electrode must be straightened before the fuse can be removed)
3. Inspect the inside of the fuse pipe to ensure cleanliness.
4. Insert a new fuse from one end, and the fuse flared electrode is pre-installed at the handle end. (Picture 2-3)
5. Install the fuse pipe and fasten it with a wrench, the torque is about 5.7 - 8N.m.
6. Flatten the funnel-shaped electrode, install the internal bolts, use one wrench to catch the melt, use another wrench to tighten the end bolts, the torque is about 5.7 - 8N.m, and then unscrew the end bolts, check whether the funnel-shaped electrode is flattened to ensure good contact.
Install plug-in fuses
1. HHook the fuse pipe operation hole with an insulated operating lever.
2. Insert the fuse tube into the fuse seat, rotate the lock hook of the fuse tube by 90°, and tighten the lock to hook the fuse to ensure the seal between the fuse tube seat.
Picture 2-1 | Picture 2-2 | Pictures 2-3 |
Appendix 3 Single-channel sleeve and dual-channel sleeve
Double channel pipe cleaning, lubrication and installation 1. Clean the contact surface of the double-pass casing and the casing seat with reference to the requirements of the single-pass casing, apply grease, and screw the double-pass casing in a clockwise direction until the ratchet idles and makes a sound after tightening. 2. Use a fixing plate to position the double pipe. 3. Use 0. 8mm or equivalent copper wire to connect the grounding hole of the double pipe with the system ground. 4. Install matching parts (such as elbow plugs, lightning arresters or insulation protective caps, etc.). |
|
Single-channel pipe cleaning, lubrication and installation 1. Clean the contact surface of the casing and the tube seat, apply grease, screw into the single-pass casing clockwise, and tighten it with a special tool (seven and a half turns). Note: If the tool is installed with torque, the torque is 13.5N. m. 2. Ground the grounding hole of the single-pass casing with a flexible wire. |
|
Appendix 4 Elbow plug
|
|
Figure 4-1 | Figure 4-2 |
Instructions for installing the elbow plug
1 .Three-core cable split phase treatment
☆ Cut off the inner and outer sheaths at the cable end > 800mm.
☆ Put on branch gloves at the separation phase, heat shrink casing (armor layer grounding) on each single phase wire, see Figure 4-2 for each treatment size.
2 .Elbow plug mounting
☆ Clean the surface of the conductor with a cable brush, put the cold pressed joint on the cable conductor, screw the connecting conductor into the screw hole of the cold pressed joint, and insert the single (double) through casing in the future.
☆ Choose the appropriate crimping tool, crimping should start from the copper and aluminum connection of the cold crimping joint, and rotate 90° for each pressing, and remove excess lubricant with a soft cloth.
☆ Pull out the connecting conductor and screw it down.
☆ Clean and lubricate the cable surface and the inside of the elbow plug, slowly push the cable into the elbow plug, and guide the connection with the shielded connector. The screw hole on the cold pressed joint is visible at the end of the elbow plug.
☆ Screw the connecting conductor into the screw hole of the cold pressed joint and tighten it with a mounting wrench until it is torsional 180. (If.)
With other wrenches, the torque is about 12.4N.m) o
☆ Use insulating self-adhesive tape to wrap the elbow plug and the cable heat shrink sleeve.
☆ Use a grounding wire to connect the ground hole of the elbow plug with the system grounding point.
Load input
☆ Sufficient operating distance should be ensured.
☆ Use an insulated operating rod to hook the elbow plug operating hole.
☆ Align the connecting conductor of the elbow plug with the sleeve conductor and push forward until you feel that it is connected, that is, be sure to push it in place.
☆ The operation should be fast, accurate, decisive and powerful.
Load cut-off
☆ HHook the elbow plug operation hole with an insulated operating lever.
☆ Turn the insulated operating lever left and right to reduce the friction between the casing surface and the elbow plug.
☆ Pull out the elbow plug quickly, accurately, decisively and powerfully, being careful not to touch the conductor with the nearby ground wire.
☆ HHang the elbow plug on the single (double) through connector with an insulated operating lever.
☆ Use the insulation operation lever to cover the insulating protective cap connected to the ground wire on the conductive part.
Notice: The operation of the elbow plug should be carried out by personnel who are familiar with the safety and operating procedures of the power system.
Use elbow plugs to separate loads only in emergency (or special) situations, and it is recommended to use a conforming switch.
Elbow plugs cannot be used to close short circuit faults.
Appendix 5 Single (double) pass fittings and insulation protective caps
☆ Single (double) pass connector is used to plug into a live elbow plug, isolate the live cable, segment it, or use it to plug and pull no
The electrified elbow plug plays a role in dust, water and moisture.
☆ The double-way connector can be connected to an elbow-type plug at one end and an elbow-type surge arrester at the other.
☆ Insulation protective caps provide insulation and protective envelopes for sleeves and joints.
Single (double) pass mounting
1. Remove the transportation protective cap, clean and lubricate {refer to the requirements of single (double) through sleeves}.
2. Use copper wire to connect the single (double) through joint grounding hole with the system ground.
3. HHang the single (double) through joint on the wall hanging and tighten the fixing bolt.
4. Seal the corresponding joints with insulation caps.
Note: All relevant components must be in a state of no power before the single (double) pass connector can be installed and removed.
Insulation protective cap installation
1. Clean and lubricate the outer surface of the joint (or casing) related to the inner surface of the insulating protective cap.
2. Connect the grounding wire of the insulation protective cap with the system ground.
3. HHook the protective cap jack with the insulated operating lever and push the insulated cap into the relevant joint (or sleeve) until it is connected into place.
Remove the insulating protective cap
1. HHook the protective cap with an insulated operating lever.
2. Turn the protective cap left and right to reduce the friction of the contact surface, and pull it back hard to remove the protective cap.
Appendix 6. Fault indicator and live indicator
The fault indicator is installed on the test point of the elbow plug, នៅ ពេល បន្ទាត់ ទន់ កាត់ ទ្រនិច បង្ហាញ របស់ កម្មវិធី បង្ហាញ កំហុស មាន ស និង ត្រឡប់ ដោយ ស្វ័យ ប្រវត្តិ ទៅ ក្រហម ។ បង្ហាញ ថា បន្ទាត់ នៅ ក្នុង ស្ថានភាព "លំនាំដើម" នៅ ពេល នេះ នៅពេល រង្វង់ ត្រឡប់ ទៅ ធម្មតា ។ ប្រព័ន្ធ នឹង កំណត់ បង្អួច បង្ហាញ ស្វ័យ ប្រវត្តិ ឡើង វិញ ហើយ ប្ដូរ ស ។ កម្មវិធី បង្ហាញ កំហុស មាន កម្រិត ពន្លឺ ពីរ ដែល អាច ជ្រើស ពីរ ខ្ពស់ និង ទាប ដែល មាន កម្រិត ខ្លាំង ទាប ចំនួន 400A (RMS) និង កម្រិត ខ្ពស់ នៃ 800A (RMS) ។ នៅ ពេល ដែល បញ្ជូន បង្អួច បង្ហាញ របស់ កម្មវិធី បង្ហាញ កំហុស ត្រូវ បាន កំណត់ នៅ ក្នុង ការ បង្ហាញ កំហុស (i) ។ ., វា ត្រូវ បាន បង្ហាញ ជា ក្រហម) និង បន្ទាប់ ពី ការ ដំឡើង នៅពេល បន្ទាត់ កម្រិត ពណ៌ ខ្លួន ដល់ 5KV បន្ទាប់ ពី នាទី ។ កម្មវិធី បង្ហាញ កំហុស នៅ ក្នុង ស្ថានភាព ធ្វើការ ធម្មតា ។ និង បង្អួច បង្ហាញ ត្រូវ បាន កំណត់ ដោយ ស្វ័យ ប្រវត្តិ ទៅ ស្ថានភាព ធម្មតា (ឧទាហរណ៍ វា ត្រូវ បាន បង្ហាញ ជា ស ។
Note: Only when the line-to-ground voltage of the line reaches more than 5KV, the fault indicator can perform fault display and reset for energy storage.
The live indicator is installed on the test point of the elbow plug, and the continuous flashing of the indicator light indicates that the line is live to alert the line seeker.
Fault Indicators and Live Indicators are fully sealed products for use in a wide range of climates, and their indication status will not change due to vibration or mechanical shock.
Installation steps:
1. The installation of the indicator is divided into two situations: the cable head is live and not live, under normal circumstances, the cable head should be de-energized and grounded before installation.
2. Remove the protective cap of the elbow plug test point with an insulated operating lever (the test point should be free of stain and rust).
3. Lubrication indicator mounting the inner surface of the boot.
4. HHook the operating hole of the indicator with the insulated operating lever, put the indicator on the test point of the elbow plug, and rotate it to the appropriate position. Warning: Dirty, damp or other faults of the test point or indicator may cause the live indicator to falsely indicate that the line is out of power. at
Before operating the relevant equipment, be sure to use other test methods approved by the national standard to verify whether the line has electricity.
