យើង នឹង បង្ហាញ ការ ប្រតិបត្តិការ វិធីសាស្ត្រ ប្រតិបត្តិការ សុវត្ថិភាព និង ប៉ារ៉ាម៉ែត្រ បច្ចេកទេស របស់ KYN28--12 ប្ដូរ កម្រិត មធ្យម

Use environmental conditions
◆ សីតុណ្ហភាព រហូត ៖ ដែន កំណត់ ខ្ពស់ ៤០°C ទាប -10 ° C នៅ ក្នុង ផ្ទៃ ទូទៅ:
◆Altitude: 1000m;
◆Humidity:
ភាព ទំនាក់ទំនង ៖ មធ្យោបាយ រាល់ ថ្ងៃ មិន ធំ ជាង 95% និង មធ្យោបាយ ខែ មិន ធំ ជាង % 90% ឡើយ ។
គ្រាប់ ចុច ទឹក ៖ មធ្យោបាយ រាល់ ថ្ងៃ មិន ធំ ជាង 2.2 KPa និង មធ្យម ខែ មិន ធំ ជាង 1.8 KPa
ការ ដោះស្រាយ អាច កើត ឡើង នៅ ពេល សីតុណ្ហភាព ទម្លាក់ ដែល រួមបញ្ចូល ដោយ សម័យ ។ និង លទ្ធផល នេះ គឺ សមរម្យ សម្រាប់ លក្ខខណ្ឌ បរិស្ថាន ពីរ ដែល ច្រើន ជាង លក្ខខណ្ឌ ធម្មតា ខាង ក្រោមName:
(1) ។ ការ ដោះស្រាយ ធម្មតា (មិន ច្រើន ជាង ពីរ ដង នៅ មធ្យោបាយ) ដែល មាន មធ្យម ។
(2) ។ ជា ទូទៅ គ្មាន ការ ដោះស្រាយ (មិន មធ្យោបាយ ពីរ ដង ជា ឆ្នាំ មធ្យោបាយ) ជាមួយ ការ ពិបាក ធ្ងន់ធ្ងរ ។
◆ គ្មាន កិ ត្ដិ យស និង ការ បង្កើន កិ ត្ដិ យស និង ការ កោត ខ្លាច ដល់ ម៉ូសេ ដើម្បី បំផ្លាញ លោក និង កន្លែង ខ្លាំង ផ្សេង ទៀត ។
◆ គ្មាន ការ ពិបាក ធ្លាក់ ទឹកកក និង ឈ្នះ បញ្ឈរ មាន ច្រើន ជាង ៨០ ;
Note: (1) Storage and transportation are allowed at -30°C;
(2) នៅ ពេល កម្ពស់ កម្ពស់ ជាង 1000 m វា នឹង ត្រូវ បាន ដោះស្រាយ ដោយ យោង តាម JB / 22102 "ការ ទាមទារ សំណួរ សម្រាប់ តំបន់ កម្រិត ខ្ពស់ សម្រាប់ ប្រើ កម្លាំង កម្លាំង ខ្ពស់ ព័ត៌មាន ។ ពេល កម្ពស់ មិន មែន ជា 2000m ។ ឧបករណ៍ ជំនួយ ការ បង្ខូច ទាប មិន ត្រូវការ ធ្វើ វិធី ណាមួយ ។
(3) នៅ ពេល លក្ខខណ្ឌ ពិត នៃ ការ ប្រើ គឺ ខុស គ្នា ពី ខាង លើ វា គួរ តែ ត្រូវ បាន ដោះស្រាយ រវាង អ្នក ប្រើ និង អ្នក បង្កើត ។
Model and meaning
K Y N 28 - 12/ □ - □
└─Rated Breaking Short Circuit Current (KA)
└─Rated Current (A)
└─Rated voltage (KV).
└─Design serial number
└─Indoors
└─ Move the type
└─Metal armor
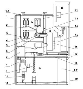
Schematic diagram of the structure of the ប្ដូរ ទេ
Figure 1

A. Circuit breaker compartment B. Busbar compartment
C. Cable room D. Relay instrument room
1. Busbar 2. Static contact disc 3. Circuit breaker
4. Grounding switch 5. Current transformer
6. Capacitive voltage divider 7. Lightning arrester
Fig.2 Schematic diagram of ប្ដូរ ទេ structure

1. Housing 2. Branch small busbar 3. Busbar sleeve 4. Main busbar
5. Static contact device 6. Static contact box 7. Current transformer
៨ ប្ដូរ កណ្ដាល 9. Cable 10. អ្នក ឈប់ សរសេរ ១១ ខ្សែ មេ បណ្ដាញ
១២. កំពុង ផ្ទុក និង ភាគ ថាស ១៣ ភាគ ថាស (flap) ១៤. កម្មវិធី ជំនួយ រង
១៥ រង្វង់ រង្វង់ រង្វង់ ១៦ ឧបករណ៍ រន្ធ ១៧ ភាគ ថាស ផ្ដេក ដែល អាច ស្រង់ បានName
18. Grounding switch operating mechanism 19. Base plate
A.ជុំ របារ ប៊ុម សៀវភៅ ផ្នែក ដៃ កាត សៀវភៅ C ។ ចន្លោះ ខ្លាំង D. ចន្លោះ ឧបករណ៍ ផ្លាស់ប្ដូរ
1.1. Pressure relief device 1.2. Control small trunking
ស្តង់ដារ
The product meets the following standards:
1.IEC-298
2.GB3906-1991
3.DLT404-19974. GB/T11022-1999
Primary wiring scheme
| Scheme number | 001 | 002 | 003 | 004 | 005 | |
Primary route diagram |
| |||||
| Rated current (A). | 630-4000 | |||||
One ពេលវេលា host want electricity utensil Yuan item | Vacuum circuit breaker | 1 | 1 | 1 | 1 | 1 |
| Current transformer LZZBJ9-12 | 2 | 2 | 2 | 3 | 3 | |
| Voltage transformer RZL/REL | ||||||
| High Pressure Breaker (XRNP □) | ||||||
| Grounding Switch (EK6/JN15-12) | 1 | 1 | 1 | |||
| Surge arrester HY5WZ-17/45 | 3 | |||||
| use | Receiving power and feeding power | Receiving power and feeding power | Receiving power and feeding power | Receiving power and feeding power | Receiving power and feeding power | |
| Scheme number | 006 | 007 | 008 | 009 | 010 | |
Primary route diagram |
| |||||
| Rated current (A). | 630-4000 | |||||
One ពេលវេលា host want electricity utensil Yuan item | Vacuum circuit breaker | 1 | 1 | 1 | 1 | 1 |
| Current transformer LZZBJ9-12 | 3 | 2 | 2 | 2 | 2 | |
| Voltage transformer RZL/REL | ||||||
| High Pressure Breaker (XRNP □) | ||||||
| Grounding Switch (EK6/JN15-12) | 1 | 1 | 1 | |||
| Surge arrester HY5WZ-17/45 | 3 | |||||
| use | Feed | Contact (right) | Contact (right) | Contact (left) | Contact (left) | |
| Scheme number | 011 | 012 | 013 | 014 | 015 | |
Primary route diagram |
| |||||
| Rated current (A). | 630-4000 | |||||
One ពេលវេលា host want electricity utensil Yuan item | Vacuum circuit breaker | 1 | 1 | 1 | 1 | 1 |
| Current transformer LZZBJ9-12 | 3 | 3 | 2 | 2 | 2 | |
| Voltage transformer RZL/REL | ||||||
| High Pressure Breaker (XRNP □) | ||||||
| Grounding Switch (EK6/JN15-12) | 1 | 1 | 1 | |||
| Surge arrester HY5WZ-17/45 | 3 | |||||
| use | Overhead Line (Right Contact) | Overhead Line (Right Contact) | Overhead entry and exit lines | Overhead entry and exit lines | Overhead entry and exit lines | |
| Scheme number | 016 | 017 | 018 | 019 | 020 | |
Primary route diagram |
| |||||
| Rated current (A). | 630-4000 | |||||
One ពេលវេលា host want electricity utensil Yuan item | Vacuum circuit breaker | |||||
| Current transformer LZZBJ9-12 | ||||||
| Voltage transformer RZL/REL | /3 | 2/ | /3 | 2/ | /2 | |
| High Pressure Breaker (XRNP □) | 3 | 3 | 3 | 3 | 3 | |
| Grounding Switch (EK6/JN15-12) | ||||||
| Surge arrester HY5WZ-17/45 | 3 | 3 | 3 | |||
| use | Voltage measurement surge arrester | Voltage measurement surge arrester | Voltage measurement surge arrester | Voltage Measurement (Left link) | Voltage Measurement (Right Link) | |
| Scheme number | 021 | 022 | 023 | 024 | 025 | |
Primary route diagram |
| |||||
| Rated current (A). | 630-4000 | |||||
One ពេលវេលា host want electricity utensil Yuan item | Vacuum circuit breaker | |||||
| Current transformer LZZBJ9-12 | 2 | 2 | 3 | 3 | 2 | |
| Voltage transformer RZL/REL | 2/ | 2/ | 2/ | 2/ | /3 | |
| High Pressure Breaker (XRNP □) | 3 | 3 | 3 | 3 | 3 | |
| Grounding Switch (EK6/JN15-12) | ||||||
| Surge arrester HY5WZ-17/45 | ||||||
| use | Measurement right couplet | Measurement left couplet | Measurement left couplet | Measurement right couplet | Measurement left couplet | |
| Scheme number | 026 | 027 | 028 | 029 | 030 | |
Primary route diagram |
| |||||
| Rated current (A). | 630-4000 | |||||
One ពេលវេលា host want electricity utensil Yuan item | Vacuum circuit breaker | 1 | ||||
| Current transformer LZZBJ9-12 | 3 | Capacitor Bm12.7-16-1 3 | ||||
| Voltage transformer RZL/REL | /3 | កម្មវិធី បម្លែងComment 1 | /4 | /4 | ||
| High Pressure Breaker (XRNP □) | 3 | 3 | (XRNT)3 | 3 | 3 | |
| Grounding Switch (EK6/JN15-12) | 1 | 1 | 1 | |||
| Surge arrester HY5WZ-17/45 | 3 | 3 | 3 | |||
| use | Incoming metering | ការ បម្លែង បម្លែង ប្រើ (ទទឹង កម្រិត កម្រិត ខ្ពស់ ត្រូវ បាន កំណត់ តាម រយៈ ទំហំ ទំហំ អថេរ ដែល បាន ប្រើ) | Capacitor cabinets | Voltage measurement surge arrester | Voltage measurement surge arrester | |

◆A handcart កណ្ដាល ដៃ cart ត្រូវ បាន បង្កើត ដោយ ប្លុក រតប ដែល បាន ដំណើរការ ដោយ ឧបករណ៍ ម៉ាស៊ីន CNC ហើយ បន្ទាប់ មក បាន បញ្ចូល និង ស្លង់ ។ យោង តាម កម្មវិធី កាត ដៃ អាច ត្រូវ បាន ចែក ទៅ ជា រង្វង់ រង្វង់ រង្វង់ រង្វង់ កម្រិត កម្រិត កម្រិត ដៃ មធ្យម ការ ដៃ មធ្យម និង កាត ដៃ ដៃ ផ្សេង ទៀត នៃ ការ បញ្ជាក់ ដូចគ្នា ដែល មាន ងាយស្រួល សម្រាប់ ការ ផ្លាស់ប្ដូរ ។ កាត ដៃ មាន ទីតាំង បំបែក, ទីតាំង សាកល្បង និង ទីតាំង ធ្វើការ នៅ ក្នុង កាបៃ និង ទីតាំង នីមួយៗ ត្រូវ បាន ផ្គុំ ដោយ ឧបករណ៍ ទីតាំង ដើម្បី ប្រាកដ ថា កាត ដៃ មិន អាច ត្រូវ បាន ផ្លាស់ទី ដោយ ទំនាក់ទំនង នៅពេល វា នៅ ខាង លើ ។ ទីតាំង ៖ ហើយ ចំណុច ប្រទាក់ ត្រូវ តែ ចេញផ្សាយ នៅ ពេល កាត ដៃ ត្រូវ បាន ផ្លាស់ទី ។ |
|
◆B busbar ខ្សែ បញ្ជូន ពី ការ ប្ដូរ មួយ ទៅ កាន់ ផ្សេង ទៀត ដោយ ដ្បិត ខ្លួន និង ថាស ទំនាក់ទំនង មូលដ្ឋាន ។ ថ្នាក់ កណ្ដាល ត្រូវ បាន បញ្ចប់ ទៅ ថាស ទំនាក់ទំនង ស្ថានីយ និង ខ្សែ មេ ដោយ មិន ចាំបាច់ ការ តភ្ជាប់ បន្ថែម ឬ ការ តភ្ជាប់ ។ នៅ ពេល អ្នក ប្រើ និង គម្រោង មាន ការ ចាំបាច់ ពិសេស កណ្ដាល តភ្ជាប់ នៅ លើ របារ ខ្សែស្រឡាយ អាច ត្រូវ បាន បង្រួម ជាមួយ បង្អួច និង ជម្រះ បញ្ចប់ ។ នៅ ពេល របារ ផ្សែរ កាត់ ភាគ ថាស ប្ដូរ វា ត្រូវ បាន ថេរ ជាមួយ រង្វង់ របារ ខ្សែ ។ ប្រសិន បើ មាន ធ្នូ កំហុស ខាង ក្នុង ។ វា អាច កំណត់ ការ បញ្ចប់ នៃ លទ្ធផល ទៅ កាន់ ប៊ីបែប ចូល គ្នា និង ប្រាកដ ថាស ម៉ាស៊ីន គីឡូ ។ |
|
◆C cable room កម្មវិធី ប្ដូរ បច្ចុប្បន្ន, ប្ដូរ បណ្ដាញ, អ្នក ចង់ ពន្លឺ និង ខ្លាំង អាច ត្រូវ បាន ដំឡើង ក្នុង ជុំ ។ និង ប្លុក អ៊ីមូនី ដែល អាច យក ចេញ ដែល មាន ស្លាយ ត្រូវ បាន រៀបចំ នៅ ខាង ក្រោម ចន្លោះ ខ្លួន ដើម្បី ប្រាកដ ថា ការ ស្ថានភាព លើ តំបន់ ។ |
|
◆D Relay instrument room ចន្លោះ ឧបករណ៍ បញ្ចប់ ត្រូវ បាន ប្រើ ដើម្បី ដំឡើង ការ ផ្លាស់ប្ដូរ សញ្ញា ប្ដូរ ប្រតិបត្តិការ និង សមាសភាគ ផ្សេង ទៀត ។ បន្ថែម room របារ ផ្សែរ តូចៗ អាច ត្រូវ បាន បន្ថែម ទៅ កំពូល នៃ room ឧបករណ៍ យោង តាម ការ ទាមទារ អ្នក ប្រើ ។ និង ប៊ូស ត្រួតពិនិត្យ ៦ វិនាទី អាច ត្រូវ បាន ដាក់ ។ |
|
◆Lock structure ការ តភ្ជាប់ រវាង បញ្ហា កណ្ដាល និង កាបៃ រចនាសម្ព័ន្ធ ចាក់សោ ហើយ ត្រូវ បាន ផ្ទាល់ ជាមួយ ឧបករណ៍ ផ្ទុក កណ្ដាល ដើម្បី ធ្វើ ឲ្យ ច្រក កណ្ដាល ឲ្យ បើក និង នៅពេល ជួរ កណ្ដាល ។ កម្លាំង តភ្ជាប់ រវាង វា និង ប៊ីបែល គឺ ល្អ បំផុត ។ ដែល បង្កើន សមត្ថភាព ដើម្បី ទប់ស្កាត់ កំហុស ធ្នូ ខាង ក្នុង បែបផែន ។ |
|
◆D Relay ចន្លោះ ឧបករណ៍ ផ្ទុក ជួរដេក ឧបករណ៍ ត្រូវ បាន បិទ ហើយ ជួរ ឧបករណ៍ ត្រូវ បាន មើល មុន ។ | ◆Pressure relief device នៅពេល ដែល គន្លឹះ ឬ របារ ខ្សែ មេ ខ្សែ ចន្លោះ មាន ធ្នូ កំហុស ខាង ក្នុង ដែល មាន រូបរាង នៃ អ៊ីនធឺណិត ។ ការ ព្យាយាម នៅ ក្នុង ការ ប្ដូរ បន្ថយ ឡើង ហើយ បន្ទាប់ មក ដល់ ការ ព្យាយាម ។ ការ បោះពុម្ព ចេញ ក្រឡា ក្រឡា ក្រោម របស់ ឧបករណ៍ កំពូល នឹង ត្រូវ បាន បើក ដោយ ស្វ័យ ប្រវត្តិ ដើម្បី ចេញ ពី បាក់ និង ចេញ វិសាលភាព ដើម្បី ប្រាកដ សុវត្ថិភាព ប្រវែង និង ប្ដូរ ។ |
